Cotarea In Desen Tehnic Industrial





Pdf Cotarea In Desenul Tehnic Industrial Vlad Oblu Academia Edu

Pdf Cotarea In Desenul Tehnic Industrial Vlad Oblu Academia Edu

Tehnica Cotarea In Desenul Tehnic

Tehnica Cotarea In Desenul Tehnic

Tehnica Cotarea In Desenul Tehnic

Tehnica Cotarea In Desenul Tehnic

Tehnica Cotarea In Desenul Tehnic

Tehnica Cotarea In Desenul Tehnic

Desen Tehnic Si Geometrie Descriptiva2

Desen Tehnic Si Geometrie Descriptiva2

Http Www Spellit Ro Platforma De E Learning Prof Dana Galateanu An Scolar 2015 2016 Desen Tehnic Industrial 5 Cotarea In Dt Pdf At Download File

Http Www Spellit Ro Platforma De E Learning Prof Dana Galateanu An Scolar 2015 2016 Desen Tehnic Industrial 5 Cotarea In Dt Pdf At Download File

Http Www Spellit Ro Platforma De E Learning Prof Dana Galateanu An Scolar 2015 2016 Desen Tehnic Industrial 5 Cotarea In Dt Pdf At Download File

Regulile de execuţie a elementelor cotrii folosite în ă desenul tehnic industrial respectiv forma dimensiunile şi dispunerea acestora precum şi clasificarea cotelor sunt cuprinse în sr iso 129.

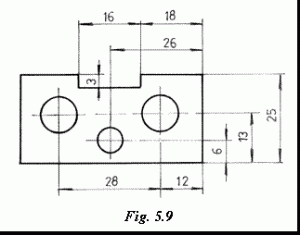
Cotarea in desen tehnic industrial. Cotarea în desenul industrial 5 1 generalitati executia oricarui obiect necesita printre altele cunoasterea formei si marimii lui ele sunt redate în desen prin proiectiile acestuia compuse în general din vederi si sectiuni si prin valorile numerice ale dimensiunilor obiectului înscrise în câmpul desenului. Cotarea unui desen tehnic de constructii este operatiunea de inscriere pe desen a dimensiunilor partiale si totale necesare pentru determinarea precisa a pozitiei si a dimensiunilor tuturor elementelor reprezentate. Dimensiuni ale piesei la cotarea faţ de un element comun cu cote suprapuse. Cotarea trebuie să determine cu precizie valorile dimensiunilor reale ale pieselor sau ansamblelor şi se efectuează conform sr iso 129 1994.

Realizatǎ pe baza unor reguli şi convenţii stabilite în acest scop fiind cel mai potrivit mijloc pentru a reprezenta o concepţie. Cotarea este operaţia de înscriere pe desen a dimensiunilor necesare pentru fabricaţia şi controlul unui obiect. Se înţelege reprezentarea graficǎ a unui obiect. Cotarea în desenul tehnic industrial.

în studiul desenului tehnic. Linia de indicaţie se folosete la indicarea pe desen a elementului la care se refer o prescripţie tehnic fig 7 16 o notare convenţional fig. Lucrarea se adresează în principal. C otarea in desenul tehnic.

Desenului tehnic industrial utilizat în construcţia de maşini. Cotarea este operatia de inscriere pe desen a dimensiunilor necesare pentru fabricarea si controlul obiectului respectiv. 7 17 sau o cot care din lips de spaţiu nu a putut fi aezat deasupra liniei de cot fig. Grafică asistată desen tehnic anul i ise iec curs nr.

Tehnica Cotarea In Desenul Tehnic

Tehnica Cotarea In Desenul Tehnic

Editura Risoprint

Editura Risoprint

Http Www Spellit Ro Platforma De E Learning Prof Dana Galateanu An Scolar 2015 2016 Desen Tehnic Industrial 5 Cotarea In Dt Pdf At Download File

Http Www Spellit Ro Platforma De E Learning Prof Dana Galateanu An Scolar 2015 2016 Desen Tehnic Industrial 5 Cotarea In Dt Pdf At Download File

Desen Tehnic Si Geometrie Descriptiva2

Desen Tehnic Si Geometrie Descriptiva2

Cotarea In Desenul Industrial

Cotarea In Desenul Industrial

Desen Tehnic Si Geometrie Descriptiva2

Desen Tehnic Si Geometrie Descriptiva2

Curs Practic De Desen Tehnic Industrial Mecanică Cursuri

Curs Practic De Desen Tehnic Industrial Mecanică Cursuri

2

2

Tehnica Cotarea In Desenul Tehnic

Tehnica Cotarea In Desenul Tehnic

Curs Desen Tehnic Si Infografica Mecanica 226274 Regielive

Curs Desen Tehnic Si Infografica Mecanica 226274 Regielive

Desen Tehnic Si Geometrie Descriptiva2

Desen Tehnic Si Geometrie Descriptiva2

Curs Desen Tehnic

Curs Desen Tehnic

Desen Tehnic Subiecte

Desen Tehnic Subiecte

Cotarea In Desenul Tehnic Docx

Cotarea In Desenul Tehnic Docx

Source : pinterest.com